Gry na PlayStation będą przechodzić się same? Sony opatentowało prawdziwą rewolucję od AI

Radosław Krajewski
2026/01/07 11:45
5
0

Koniec z uciążliwymi etapami, trudnymi zagadkami i wymagającymi bossami. Gra przy użyciu AI pomoże graczom w każdej sytuacji

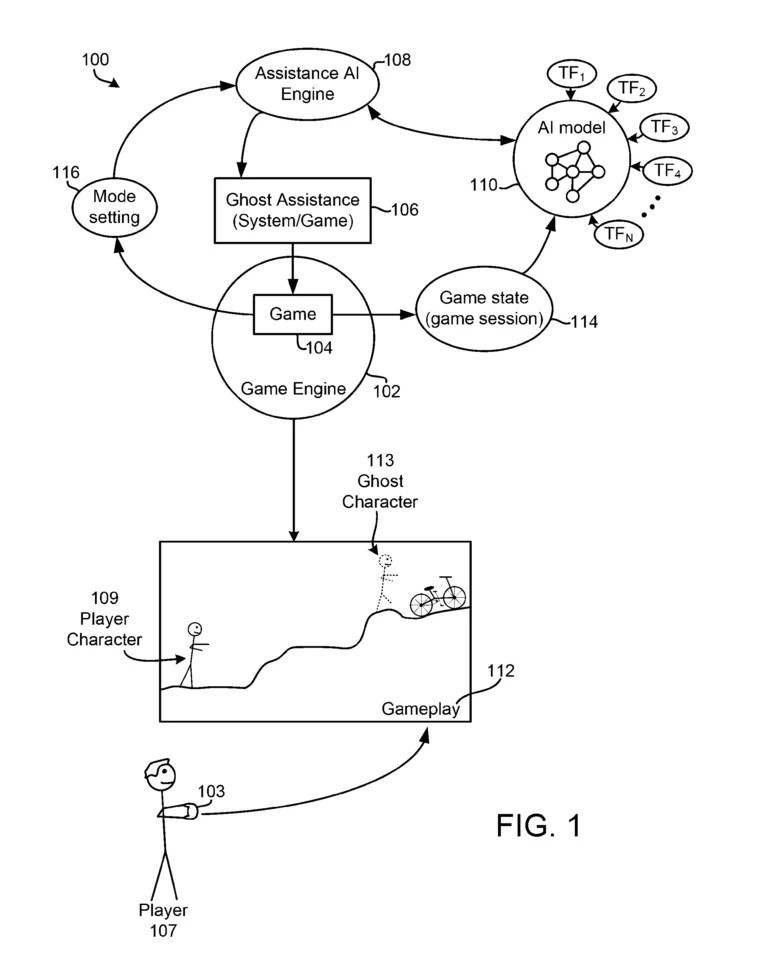
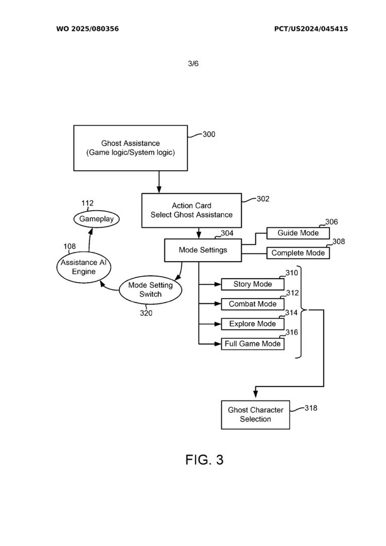
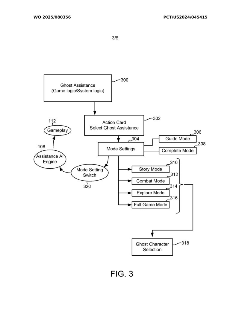
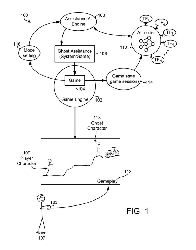
Sony złożyło patent na technologię, która może znacząco zmienić sposób radzenia sobie z trudnymi momentami w grach. Zgodnie z dokumentacją opisującą system Ghost Player, sztuczna inteligencja miałaby przejmować kontrolę nad postacią gracza wtedy, gdy ten utknie na konkretnym etapie rozgrywki. Rozwiązanie dotyczy gier wydawanych na platformach PlayStation i zakłada dynamiczne wsparcie zamiast klasycznych podpowiedzi.

PlayStation
PlayStation

PlayStation może otrzymać funkcję, dzięki której AI pokona za graczy wymagające i trudne etapy

Patent został złożony we wrześniu 2024 roku, jednak dopiero teraz opublikowano jego międzynarodowy raport statusowy przez World Intellectual Property Organization. Dokument ujawnia szczegóły działania mechanizmu, który tworzy cyfrowego sobowtóra gracza. Taki duch może zaprezentować sposób rozwiązania zagadki albo całkowicie ukończyć dany fragment gry.

W praktyce oznacza to dwa tryby działania. Pierwszy z nich pełni rolę przewodnika i pokazuje rozwiązanie, po czym oddaje kontrolę użytkownikowi. Drugi tryb przechodzi dany segment samodzielnie, pozwalając graczowi pominąć szczególnie frustrujący moment. Jako przykład wskazywane są gry pokroju Uncharted, w których system mógłby zaprezentować poprawne rozwiązanie zagadki środowiskowej.

Mechanizmy ułatwień nie są w grach niczym nowym. Obniżanie poziomu trudności, pomijanie starć czy systemy podpowiedzi od lat pomagają mniej doświadczonym graczom. W ostatnich latach część produkcji Sony była jednak krytykowana za zbyt nachalne wsparcie, czego przykładem bywało God of War Ragnarok, gdzie towarzysze potrafili niemal natychmiast zdradzać rozwiązania zagadek.

W przypadku Ghost Playera kluczowa jest inna filozofia działania. Sztuczna inteligencja nie miałaby korzystać z wcześniej zaprogramowanych sekwencji, lecz uczyć się na podstawie istniejących nagrań rozgrywki. Oznacza to bardziej elastyczne i kontekstowe reakcje dopasowane do stylu gry konkretnego użytkownika.

Nowy patent Sony
Nowy patent Sony
Nowy patent Sony
Nowy patent Sony

GramTV przedstawia:

Nowy patent wygląda na rozwinięcie funkcji PS5 Game Help, która zadebiutowała wraz z konsolą PlayStation 5. Tamto rozwiązanie oferowało podpowiedzi w formie obrazów i filmów wyświetlanych bez wychodzenia z gry. System zyskał uznanie wśród łowców trofeów, ponieważ eliminował konieczność korzystania z zewnętrznych poradników na telefonie lub komputerze.

Warto jednak podkreślić, że sam patent nie oznacza jeszcze wdrożenia technologii do przyszłych gier czy sprzętu. Sony od lat rejestruje wiele pomysłów, które nigdy nie trafiają do masowej produkcji.

Jednocześnie asystenci opierający się na sztucznej inteligencji coraz śmielej wchodzą do świata gier. W ubiegłym roku Microsoft zaprezentował Copilot for Gaming, czyli wirtualnego towarzysza zaprojektowanego jako spersonalizowany trener dla graczy.

Podczas prezentacji pokazano między innymi sytuację, w której gracz Minecraft pyta, co można zrobić z drewna, a także przykład z Age of Empires 4, gdzie asystent instaluje grę i oferuje krótkie przypomnienie wcześniejszych wydarzeń.

Komentarze
5
NOWAHUTANACZASIE
Gramowicz
07/01/2026 14:00

CZyli jescze  więcej na świecie osób zniedołężniałych, nieporadnych

wolff01
Gramowicz
07/01/2026 13:53
dariuszp napisał:

Odpowiedz na potrzebę. Netflix się zorientował że ich Netflix slop nie nadaje się do oglądania i kupa ludzi chodzi po mieszkaniu jak ich syf leci w tle to właśnie pod takiego widza robią. 

Więc zamiast "show don't tell" mają "tell three times".

A co do gier, mamy to od dawna. Obok easy mode mamy teraz story mode a nawet gry akcji jak Bayonetta mają tyle asyst że możesz wygrać walkę naciskając jeden przycisk. 

Tak samo sieciowi. When Winds Meet ma auto parry. Jak to włączysz to postać sama się broni a ty tylko wyprowadzasz ataki. I wszystko staje się trywialne. 

No teraz pytanie czy powinno się ślepo za tymi trendami podążać, czy jednak próbować zmieniać coś innego...

Co innego easy mode dla dzieci w Mario Kart a co innego idiokracja "dorosłego" społeczeństwa...

dariuszp
Gramowicz
07/01/2026 12:27
wolff01 napisał:

Seriale na pół gwizdka od Netflixa bo widza patrzy w telefon, a teraz samo-przechodzące się gry (co innego używanie botów do grindu a co innego to). Dalej ogłupiajcie społeczeństwo a się w kozi róg zapędzicie bo nawet nie będą sobie tych gier umieli kupić... 

Odpowiedz na potrzebę. Netflix się zorientował że ich Netflix slop nie nadaje się do oglądania i kupa ludzi chodzi po mieszkaniu jak ich syf leci w tle to właśnie pod takiego widza robią. 

Więc zamiast "show don't tell" mają "tell three times".

A co do gier, mamy to od dawna. Obok easy mode mamy teraz story mode a nawet gry akcji jak Bayonetta mają tyle asyst że możesz wygrać walkę naciskając jeden przycisk. 

Tak samo sieciowi. When Winds Meet ma auto parry. Jak to włączysz to postać sama się broni a ty tylko wyprowadzasz ataki. I wszystko staje się trywialne. 




Trwa Wczytywanie