Na początku maja serwis Engadget opublikował zdjęcie zestawu, który rzekomo ma być tym magicznym systemem sterowania ruchem dla Xboksa 360. Teraz okazuje się, że w urządzeniu tym może być więcej magii, niż się wydaje. W bazie danych amerykańskiego urzędu patentowego pojawiło się podanie złożone przez Microsoft na... różdżkę (oryg. "wand").

W opisie czytamy:
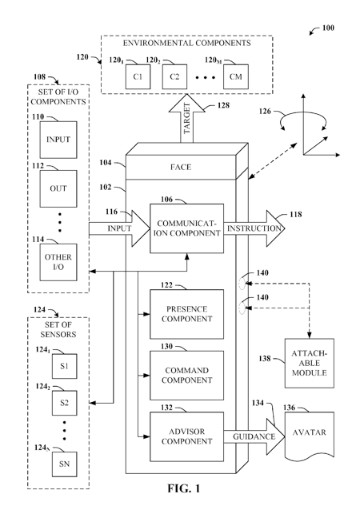
"Układ może działać w całości lub częściowo w obudowie, która przypomina coś na kształt różdżki. Układ wykorzystuje jeden lub więcej sensorów z grupy sensorów, aby ustalić położenie lub wykonany gest w połączeniu z różdżką. Dzięki temu może wydać instrukcję uaktualnienia stanu tego komponentu w środowisku na podstawie jego położenia. Dodatkowo, urządzenie może zawierać komponent doradzający, który dostarczy w intuicyjny sposób dodatkowe informacje".
Jak na razie Microsoft wypada na ten rok dość blado na polu zapowiedzianych exclusive'ów. Mimo to firma twierdzi, że ich prezentacja E3 ponownie (w 2008 największą niespodzianką było wyszarpnięcie Final Fantasy XIII ze szponów Sony) zatriumfuje. Czyżby właśnie ta cała "różdżka" miała być jedną z tajnych broni giganta z Redmond?
Nie ma jeszcze żadnych komentarzy. Napisz komentarz jako pierwszy!