
3
Darksiders II będzie tytułem startowym Wii U
Darsiders II zadebiutuje na PC, PlayStation 3 i Xboksie 360 z końcem czerwca. A potem...
25.03.2012
3

20
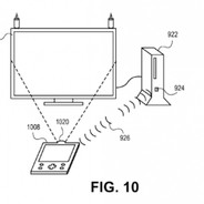
Sony ma patent na technologię podobną do tej z Wii U od 2010 roku
Specjalny kontroler, który pozwala śledzić rozgrywkę również na telewizorze? Znamy to z Wii U i wciąż czekamy, jak sprawdzi się w praktyce. Tymczasem Sony już...
05.02.2012
20
HOT

Tech
23
Microsoft: Nowy Xbox nie pojawi się w 2012 roku. Sony też się nie spieszy
Producenci konsol nie kwapią się do ogłoszenia następców Xboksa 360 i PlayStation 3. Przedstawiciele Microsoftu wprost stwierdzają nawet, że nie zależy im na konkurencji z...
31.01.2012
23

6
Nowe plotki: Wii U będzie dwa razy mocniejsze od Xboksa 360. Czy to wciąż za...
Niepotwierdzonych doniesień z obozu Nintendo ciąg dalszy. Redaktorzy serwisu Develop poinformowali, powołując się na anonimowe źródło, jaką moc obliczeniową oferować będzie nowa konsola...
26.01.2012
6

2
Satoru Iwata potwierdza: Wii U do kupienia jeszcze w tym roku
Prezes Nintendo Satoru Iwata potwierdził, że Wii U będzie dostępne w Japonii, Europie i Stanach Zjednoczonych do końca tego roku.
26.01.2012
2

30
Artykuł: Co z tą branżą? - Nowej generacji nie będzie
Rok 2012 ma być rokiem przełomowym. Według plotek na tegorocznym E3 poza Wii U ujrzymy zapowiedzi następców Xboxa 360 i PlayStation...
17.01.2012
30
HOT

33
Xbox 720 i PlayStation 4 na E3 2012? Szef Sony tylko się śmieje
Zachodnie serwisy rozpisują się dziś o rzekomych zapowiedziach nowych wersji konsol Xbox i PlayStation, do których ma dojść na E3 2012. Czyżby szykowały nam się największe targi w...
06.01.2012
33

5
Wii U dostanie swoją wersję AppStore?
eReader dla nowej konsoli Nintendo to nie jedyna aplikacja, o której szepcze się w internecie. Serwis The Daily twierdzi, że Wii U otrzyma ich znacznie więcej. O jakich nowościach mowa?
04.01.2012
5

5
Nintendo szykuje eReader dla konsol Wii U i 3DS?
Kolejna plotka z obozu Nintendo. Zgodnie z niepotwierdzonymi doniesieniami Nintendo planuje uruchomić usługę, dzięki której kontroler-tablet konsoli Wii U i 3DS staną się e-czytnikami z...
03.01.2012
5

3
Nintendo już wkrótce zaoferuje płatne DLC
Nintendo przez lata dzielnie stało na stanowisku, że konsumentowi należy oferować pełnoprawny i kompletny produkt, stąd niechętnie patrzyło na wszelkiego rodzaju płatne...
28.12.2011
3

Tech
3
Wii U spodziewajcie się w drugiej połowie 2012 roku
Zawęża się nieco okienko, w czasie którego ma mieć miejsce premiera Wii U. Wcześniej mowa była o okresie od kwietnia do końca roku, teraz spekuluje się o tym, że sprzęt...
26.12.2011
3
HOT

6
Data premiery Darksiders II znana. Gra trafi także na Wii U
THQ zdradziło przybliżony termin wydania Darksiders II. Władze firmy...
12.12.2011
6

Według panów z Vigil, tworzenie gier na Wii U do trudnych nie należy
Pamiętacie DarkSiders 2, grę o dwugłowych smokach-sterowcach, po których biega się na płonącym koniu? Tak się składa, że tworzą ją prawdziwe, wciąż żyjące osoby! Co to ma do...
29.11.2011

4
Ninja Gaiden 3: Razor Edge potwierdzonym tytułem startowym Wii U
Tecmo Koei potwierdza: na Wii U już w dniu premiery tej konsoli dostępna będzie gra Ninja Gaiden 3: Razor Edge, specjalna wersja "trójki", która to zadebiutować ma na rynku w...
11.11.2011
4

10
DICE nie ma planów związanych z Wii U
Kiedy John Riccitiello zapewniał o wsparciu Electronic Arts dla Wii U na tegorocznych E3, za jego plecami przewijała się...
23.10.2011
10

2
Nintendo: Wii U pozwoli marce The Legend of Zelda na ewolucję
Główny producent serii The Legend of Zelda, Eiji Aonuma, nie może doczekać się przeskoku tego cyklu na nową konsolę - Nintendo Wii U. jest on...
12.09.2011
2

17
Kontroler do Wii U jest bardziej zaawansowany niż nam się wydaje
Myśleliście, że "rewolucyjny" kontroler dla nowej konsoli Nintendo, który zobaczyliśmy na tegorocznych targach E3 to zwyczajny tablet z przyciskami? Okazuje się, że w jego wnętrzu kryje się kilka...
12.08.2011
17

11
Jakie gry zaprezentuje THQ na targach gamescom 2011?
THQ jako jedna z ostatnich większych firm ujawniła swój line-up na tegoroczne targi gamescom. Raczej nie dlatego, że swych gier się wstydzi.
10.08.2011
11

11
Kiedy poznamy cenę i datę premiery konsoli Wii U?
Od targów E3 2011 minęło już trochę czasu, ale Nintendo wciąż milczy na temat ceny swej nowej konsoli. Co gorsze, japońska firma nie zamierza puszczać pary z ust jeszcze przez kilka następnych...
03.08.2011
11

Assassin's Creed: Revelations nie dla Wii U
Assassin's Creed znalazł się pośród kilku znanych tytułów zapowiedzianych na Wii U. Szef Ubisoft doprecyzował teraz, że nie...
19.07.2011