Czy kiedykolwiek oglądaliście film, gdzie aktorzy swoja słabą grą aż proszą się o obrzucenie popcornem? Inżynierowie Sony najwidoczniej też oglądali "Zmierzch" i dlatego postanowili opatentować swój nowy pomysł - Mystery Science Theater 3000. Czym jest to ustrojstwo?

Jak to zostało opisane w dokumentach patentowych MST3k z kwietnia tego roku:
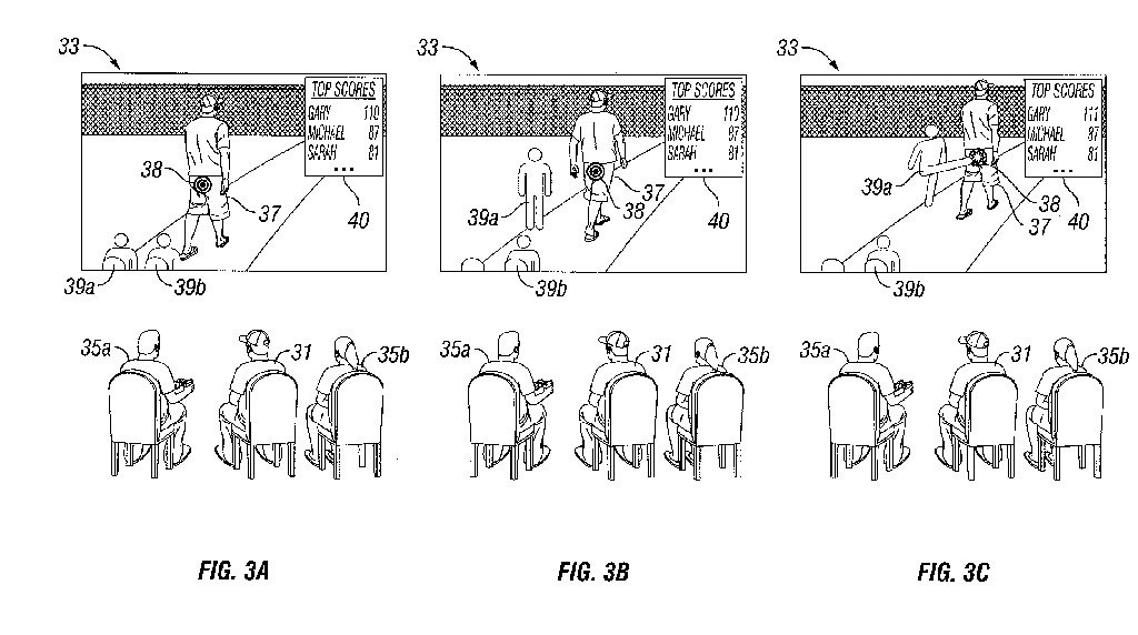
"(..,) awatar użytkownika zostaje wyświetlony na ekranie, a następnie w odpowiedzi na jego gesty w prawdziwym świecie (np. poruszenie kontrolerem lub czymś podobnym), w twarz aktora są rzucane pomidory, które odbiją się i turlają się po stole widocznym na filmie".
Oprócz pomidorów, w arsenale widzów znaleźć by się miały także puszki po Coli oraz... pająki. Jednak wisienką na torcie jest opcja kopania występujących w filmie aktorów w zadek. Oczywiście wszystkie wspomniane wcześniej czynności można wykonywać na punkty, co z pewnością doda "zabawie" posmaku rywalizacji.
MST3k istnieje jak na razie tylko na papierze - Sony nic oficjalnie nie zapowiedziało w związku z tym projektem.
Nie ma jeszcze żadnych komentarzy. Napisz komentarz jako pierwszy!